GNT.Channel.name = 开源摸鱼社💤
13:09 · 2024年10月18日 · 周五
#安全资讯
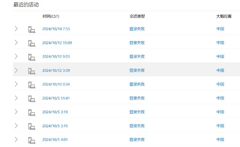
近期微软账号出现大规模疲劳攻击,建议各位及时修改账号密码甚至停用 MFA 验证,使用 Passkey 或传统的 TOTP 六位数字进行验证。
基于当前情况蓝点网猜测黑客应该是通过撞库获得了一批微软账号和密码,然后不停地发起登录请求抵达用户安装的微软身份验证器请求用户允许登录。
防御建议:
https://ourl.co/106180
Home
Powered by
BroadcastChannel
&
Sepia