来自 @GamerNoTitle 的各种动态的发布频道,群聊在 @DohnaNyan,私聊请发送至 @PaffCreamPMBot

内群 https://t.me/+qYXa7ES7GPc0ZD

嫌频道太吵可以开免打扰,本频道会不定时发一些日常也好新闻也好,反正就是很杂(指日常发电)

Github: https://github.com/GamerNoTitle
Twitter: https://twitter.com/GamerNoTitle
Website: https://bili33.top
《守望先锋2》将在12月测试6v6模式

暴雪宣布将在《守望先锋2》第14赛季中恢复6v6对战模式的测试。游戏总监Aaron Keller表示,6v6模式将允许每个队伍有多个坦克角色,以增强游戏平衡。

测试将分两个阶段进行:第一阶段采用"开放队列"形式,要求每队必须包含至少一个坦克、输出和辅助角色;第二阶段将在赛季中期开始,允许每个队伍拥有两个相同角色。为平衡游戏体验,开发团队已对坦克角色进行了削弱调整。

The Verge

📮 热点投稿 @ZaiHuabot
京东每天三次 m.fanli.me
#日常 今天是2^10程序员节,祝各位程序员节日快乐
#手机数码 小米手机开始限制跨区解锁 BL 功能,国行版设备禁止使用国际账号申请解锁。

这个限制应该是代表小米要调整国际版的解锁配额问题,国行版解锁要答题和混社区但国际版简单提交申请即可,近期小米限制国际版解锁配额,后续可能会重新开放配额但不再允许用户通过注册国际账号的方法解锁国行设备,也就是本质目的还是为了限制国行设备的解锁。

查看全文:https://ourl.co/106209

via 不靠谱的喵
#软件资讯 腾讯会议继续缩减免费版用户权益,2 人以上远程会议时长由原本的 60 分钟缩短至 40 分钟。

最初腾讯会议为支持在特殊时期企业办公和学校教学需要,提供最高 300 人不限时免费远程会议,不过后续腾讯会议已经陆续进行调整免费版权益,敦促用户尤其是商业用户付费使用。

查看全文:https://ourl.co/106208
BE反作弊爆出惊天漏洞:作弊者可通过反作弊系统封禁正常玩家

BattleEyes是一款第三方反作弊软件,被应用在许多的多人在线网络游戏当中,由于标志是一个黄色背景的眼睛,也被称之为“小黄眼”,由巴斯蒂安·苏特(BastianSuter)于2004年10月成立。

相当多的在线游戏都采用这款反作弊系统,其中包括GTA5OL、战地、PUBG、武装突袭3等。

但是这款被广泛使用的反作弊系统,却被爆出了一个惊天漏洞,作弊者可以通过BattlEye反作弊系统下达封禁其他玩家的指令,并取得了成功。

俄罗斯博主发现漏洞
在18号,外网某论坛上一名叫作timoxia的俄罗斯博主,公布了一则名为“关于如何永久禁止任何玩家(大多数)账号的黄金标准 - 使用BattleEye反作弊系统的Epic教程”

在这篇帖子中,该博主通过伪装服务器通信,向BE反作弊系统传达指令,比如发送一个用户的ID,并声称这是一个异常的ID,而反作弊程序就会服从指令, 封禁这个ID。

就相当于伪造了斩立决的手令,而接到命令的反作弊系统会执行这一命令,在这个文章中拿了PUBG举例子。

“例如,EFT 使用作为 ascii 字符串传递的 AccountId(aid),而 PUBG 使用 uint64 steamid。”

“该服务器将代表其他帐户将其转发到 BE 后端。几分钟后,您会收到一条“全局禁令”踢出消息”

该博主通过两条实战演示,其中一个是封禁了自己一年多未使用的steam小号中的PUBG账户。

此外,他还封禁了一个老鼠台PUBG主播的账户,该主播名为SparcMac,拥有43.9万订阅。

该博主称:"这种漏洞已经存在很多年了,并且仍然在 逃离塔克夫、PUBG、彩虹六号等游戏中起作用,所以我不确定 BE如何找到受影响的帐户,因为没有太多东西可以区分合法的游戏服务器和假游戏服务器。"

"要修复此漏洞,BE 只需为每个游戏添加一个密钥,这样您就不能对不同的游戏使用相同的 .dll。例如,旧版 EAC 使用一个对所有游戏都是唯一的 X-Secret-Key 参数来防止此类漏洞"


BE官方也是迅速的注意到了这篇帖子,声明道:
“我们注意到有人利用我们的封禁系统来争对任何玩家,我们已经在内部确认某些游戏确实存在这种情况“

“同时我们也保证,绝大多数游戏(包括P/2游戏)不受此影响,此外我们拥有对每项封禁足够多的数据,以便能够追溯识别系统中任何此类潜在的”假命令“。我们正在与受影响的游戏团队合作以便尽快解决问题。”
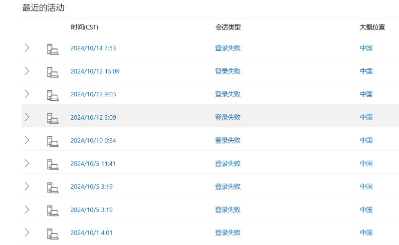
#安全资讯 近期微软账号出现大规模疲劳攻击,建议各位及时修改账号密码甚至停用 MFA 验证,使用 Passkey 或传统的 TOTP 六位数字进行验证。

基于当前情况蓝点网猜测黑客应该是通过撞库获得了一批微软账号和密码,然后不停地发起登录请求抵达用户安装的微软身份验证器请求用户允许登录。

防御建议:https://ourl.co/106180
#日常 买DELL延保最值的一次
我电脑在上周出现了CPU风扇不转的问题,然后本身无线网卡就有问题,遂于上周日送修
检修现场,发现屏幕铰链大开,师傅说是铰链断裂,本身不在保修范围内,我就说铰链不修了呗(官方维修修铰链等于换掉整个屏幕)
今天去取机器,告诉我风扇无线网卡都换了,然后还给我申请了个屏幕的特批更换
爽翻!延保费好像是350左右来着?忘记了……最值的一次了
但是但是!!!下一台笔记本我肯定不会买DELL了……
#图片 水月雨×Muse Dash联动插图(游戏内换的)
#软件下载 [脚本] 恢复 Windows 10/11 UWP 版邮件和日历应用并永久禁用 WebView 2 版 Outlook。

这个脚本会创建空白占位符用来阻止系统自动安装新版 Outlook,从而让 UWP 版邮件和日历应用可以继续使用。

下载地址:https://ourl.co/106155
Back to Top