来自 @GamerNoTitle 的各种动态的发布频道,群聊在 @DohnaNyan,私聊请发送至 @PaffCreamPMBot
内群 https://t.me/+qYXa7ES7GPc0ZD
嫌频道太吵可以开免打扰,本频道会不定时发一些日常也好新闻也好,反正就是很杂(指日常发电)
Github: https://github.com/GamerNoTitle
Twitter: https://twitter.com/GamerNoTitle
Website: https://bili33.top
内群 https://t.me/+qYXa7ES7GPc0ZD
嫌频道太吵可以开免打扰,本频道会不定时发一些日常也好新闻也好,反正就是很杂(指日常发电)
Github: https://github.com/GamerNoTitle
Twitter: https://twitter.com/GamerNoTitle
Website: https://bili33.top
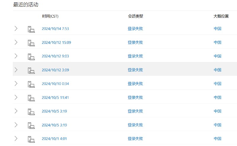
基于当前情况蓝点网猜测黑客应该是通过撞库获得了一批微软账号和密码,然后不停地发起登录请求抵达用户安装的微软身份验证器请求用户允许登录。
防御建议:https://ourl.co/106180
#日常 买DELL延保最值的一次
我电脑在上周出现了CPU风扇不转的问题,然后本身无线网卡就有问题,遂于上周日送修
检修现场,发现屏幕铰链大开,师傅说是铰链断裂,本身不在保修范围内,我就说铰链不修了呗(官方维修修铰链等于换掉整个屏幕)
今天去取机器,告诉我风扇无线网卡都换了,然后还给我申请了个屏幕的特批更换
爽翻!延保费好像是350左右来着?忘记了……最值的一次了
但是但是!!!下一台笔记本我肯定不会买DELL了……
我电脑在上周出现了CPU风扇不转的问题,然后本身无线网卡就有问题,遂于上周日送修
检修现场,发现屏幕铰链大开,师傅说是铰链断裂,本身不在保修范围内,我就说铰链不修了呗(官方维修修铰链等于换掉整个屏幕)
今天去取机器,告诉我风扇无线网卡都换了,然后还给我申请了个屏幕的特批更换
爽翻!延保费好像是350左右来着?忘记了……最值的一次了
但是但是!!!下一台笔记本我肯定不会买DELL了……
#ZZZ 来一小时的EP中找不同吧
【《绝区零》柏妮思EP丨Burning Desires 绝望吧台-哔哩哔哩】 https://www.bilibili.com/video/av113320229081267?p=1&unique_k=2333
【《绝区零》柏妮思EP丨Burning Desires 绝望吧台-哔哩哔哩】 https://www.bilibili.com/video/av113320229081267?p=1&unique_k=2333
这个脚本会创建空白占位符用来阻止系统自动安装新版 Outlook,从而让 UWP 版邮件和日历应用可以继续使用。
下载地址:https://ourl.co/106155